各位学员:
根据《浙江农林大学授予成人高等教育本科毕业生学士学位的实施细则(2024年修订)》,按照《浙江农林大学成人高等学历教育学位英语考试管理办法(2022年修订)》的规定,将于2025年11月8日举办成人高等教育学士学位英语考试。现将具体通知如下:
一、考试安排表:
|
序 号 |
年 级 |
层 次 |
报名时间 |
考试地点 |
|
1 |
在籍所有年级 |
专升本 |
2025年10月18日
到
2025年10月27日 |
另行通知 |
|
备 注 |
考试需带身份证原件,如有遗失请抓紧补办! |
二、考试时间:
2025年11月8日(星期六)上午9:00--11:00;
三、报名流程:
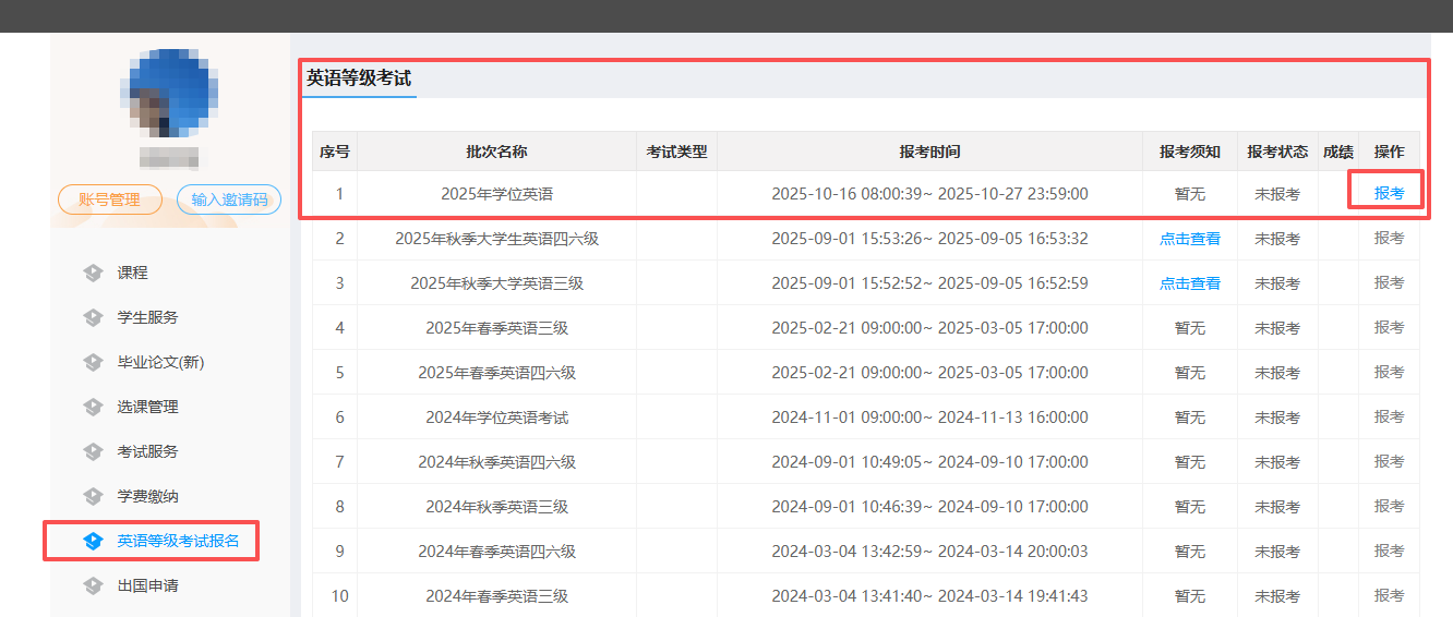
1、登录报名网址:https://zjnljj.zafu.edu.cn/login,如下图

2、选择学位英语报考,如下图
.png)
四、如有疑问,请与各校区教务秘书联系:
|
台州育华教育(各校区)教务秘书联系方式 |
|
地区 |
地址 |
联系电话 |
QQ邮箱 |
手机兼微信 |
联系人 |
|
椒江育华 |
椒江东海大道680号
(巨鼎置业四楼) |
0576-88195000 |
2065503093@qq.com |
18957602808 |
丁老师 |
|
路桥育华 |
路桥区路北街道刚泰艺鼎广场
(1号商铺01-03室) |
0576-80228555 |
1093090347@qq.com |
18906588468 |
刘老师 |
|
黄岩育华 |
黄岩区东城街道
(小东门路88号) |
0576-84038886 |
2997014947@qq.com |
18957602812 |
钟老师 |
|
温岭育华 |
温岭市体育场路324号
(二楼) |
0576-86233877 |
1491567718@qq.com |
18957602802 |
徐老师 |
|
玉环育华 |
玉环市玉城街道东城路116号 |
0576-80719882 |
910250512@qq.com |
18957602803 |
徐老师 |
|
临海 |
临海崇和路
(奈思酒店八楼) |
0576-85123119 |
864837588@qq.com |
18958558709 |
陈老师 |
|
天台育华 |
天台县赤城路580号
(天台山艺苑有限公司二楼) |
0576-83985077 |
2643208626@qq.com |
18968431818 |
袁老师 |
特此通知!
台州市路桥区育华学校
2025年10月17日